Қарағанды қаласы әкімдігінің "Қарағанды қаласының…
"№17 ЖББОМ" КММ

Изучаем казахский язык

Дос
друг
Вопрос-ответ
Всего ответов: 114
Новых вопросов: 18

Новости

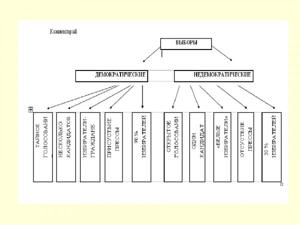
"Голосование, выборы, референдум "
11.02.2022
"Голосование, выборы,  референдум ". Деловая игра прошла в 10А классе,  с целью повышения политической и правовой культуры, формирования гражданина демократического общества.
"Әнім сенсің Қарағандым"
11.02.2022
"Әнім сенсің Қарағандым" атты Майқұдық мәдениет үйінде Қарағанды күніне орай мерекелік іс-шара өткізілді
"Этикет"
11.02.2022
"Этикет" О правилах и особенностях поведения в общественных местах  проведены беседы среди учащихся 1 классов.
"Қоғамдық орындардағы сөйлесу мәдениеті"
11.02.2022
"Құқықтық сауаттылық" апталығына орай 5 сыныптарда "Қоғамдық орындардағы сөйлесу мәдениеті" тақырыбында тәрбие сағаты өткізілді.Мақсаты:оқушылардың қоғамдық орындардағы сөйлесу м…
«Мой город - моя Караганда»
10.02.2022
10 февраля в 4Г классе был проведён классный час «Мой город - моя Караганда» Учащимся была представлена презентация и отрывки программы «Моя Караганда».
"Правила поведения в классе, в школе"
10.02.2022
10 февраля в 3 Г классе в рамках недели правовой грамотности была проведена беседа на тему "Правила поведения в классе, в школе"
ЗОЖ
10.02.2022
В рамках профилактики половой неприкосновенности среди несовершеннолетних в 3 Г классе учащиеся устроили просмотр мультфильма о ЗОЖ
"Права, обязанности и ответственность ребенка до 10 лет"
10.02.2022
9 февраля в 3 Г классе была проведена беседа на тему "Права, обязанности и ответственность ребенка до 10 лет" в рамках недели правовой грамотности.
Облыстық өлкетану мұражайына экскурсия
10.02.2022
10ақпан күні 1А сынып оқушылары облыстық өлкетану мұражайына экскурсияға барды.Оқушылардың ой-өрістерін,танымдық қабілеттерін арттыру,туған өлке тарихына деген қызығушылықтарын дамыту,оқушылардың бо…
Қарағанды 88 жасқа толды
10.02.2022
Бүгін Қарағанды 88 жасқа толды.Ресми түрде. Ал, басқа да мәліметтерге сүйенсек, өлкеміздің тарихы тереңге кеткен. 6 "В"сынып оқушылары бүгінгі Қарағандының көрікті жерлеріне сурет арқылы с…
Областной историко- краеведческий музей
10.02.2022
Учащиеся 4 В класса посетили Областной историко- краеведческий музей в рамках тематической недели ко Дню города Караганды.